ゴールデンウィークも残すところあと1日です。5連休にはあれこれしたいと思っていましたが、意外とできません。あっという間ですね。
切り忘れセーフティスイッチ(デッドマンスイッチ)が一応完成しました。ManではなくMan'sなのですね。
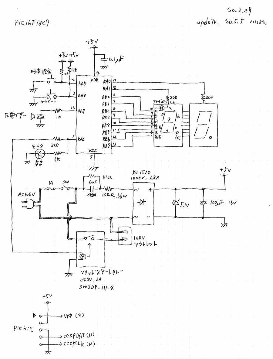
ケースに収める前に動作確認を行い、ケースに収めてから最終的な100V系の配線を行います。コネクタは使ってないので、組み込み後の修正は面倒です。PICのプログラム書き換えは、書き換え用に5ピンのソケットを付けました。写真では100Vアウトレットの陰で見えません。
適宜熱収縮チューブで絶縁、またホットボンドで固定します。SSRは両面テープでケース内側に貼り付けて、ホットボンドでも固定しました。圧電ブザーはケース側面に小さな穴を開けて両面テープとホットボンドで固定してます。

外観はこんな感じになりました。7セグLED前には視認性を上げるためのスモーク塩ビ板を付けてます。見にくいですが7セグLEDの右側に時間設定のタクトスイッチがあります。普段はあまり時間変更しない想定なので、少々押しにくくしてます。

時間のデフォルトは15分で、スイッチを押すたびに5分ずつカウントアップしていきます。最大95分。設定値はPIC内のEEPROMに記憶するので、次回はその値になります。
外観はこんな感じになりました。7セグLED前には視認性を上げるためのスモーク塩ビ板を付けてます。見にくいですが7セグLEDの右側に時間設定のタクトスイッチがあります。普段はあまり時間変更しない想定なので、少々押しにくくしてます。
時間のデフォルトは15分で、スイッチを押すたびに5分ずつカウントアップしていきます。最大95分。設定値はPIC内のEEPROMに記憶するので、次回はその値になります。
赤いハートビートスイッチ(利用者が生きてることを通知)を押すと通電してカウントダウンが始まります。カウントダウン中にスイッチを押すと設定時間に戻り、通電とカウントダウンを継続します。
残り1分でピッというアラームが鳴り、間も無くオフになる事を知らせてくれます。
時間切れ3秒前から1秒毎にピッというアラームが鳴り、オフと同時にピッピッピッというアラームが鳴ります。安全のためにオフになったらハートビートスイッチを押しても復帰しません。電源スイッチを入れ直して、最初からです。
ソースコードとHEXファイルです。無保証です。バグあるかも知れません。著作権は留保しますが、改変などはご自由にどうぞ。ブログにコードを貼ると見にくいので、上記はPIC電子工作ホームページへのリンクです。製作記事は未だです。
昨日の記事にも書きましたが、参考にして作られる場合は、AC100Vを扱う工作ですので自己責任でくれぐれもご注意下さい。
0 件のコメント:
コメントを投稿